Home » Without Label » How Do I Wire A Ballast And Ignitor / Durable Hid Ballast Ignitor High Pressure Sodium Lamp 1000 Watt Ballast Ignitor : I introductionthe ballast has become an important additional device in the gas discharge light source circuit.
How Do I Wire A Ballast And Ignitor / Durable Hid Ballast Ignitor High Pressure Sodium Lamp 1000 Watt Ballast Ignitor : I introductionthe ballast has become an important additional device in the gas discharge light source circuit.
How Do I Wire A Ballast And Ignitor / Durable Hid Ballast Ignitor High Pressure Sodium Lamp 1000 Watt Ballast Ignitor : I introductionthe ballast has become an important additional device in the gas discharge light source circuit.. Not for use with external ignitors. Usually hidden from view, the ballast is installed inside an overhead fluorescent light unit, and is covered by a shield or plate. Well mostly these lights come with a ballast and the right connector to go from the lutron d600p is a preset single pole dimmer. Also is the ballast meant to be wired onto the live line or nuetral line. Take the new t8 ballast and slide one end under the loose nut, then secure it in place by installing the second nut.
Its advantage is it does not expose the ballast winding to the hv (nor the connection between the lamp and ballast so it could be long, so remote ballast with ignitor close to. How to wire ballast 1this video will show you how to wire a hps and metal halide ballasts and a few extra tips. When installing wiring or replacing a fluorescent light ballast, first turn off the mains power and/or unplug. Have wired it up following the diagram from on the ignitor, which along with the ballast are parmar. This faq includes illustrated images of the components and wiring of a hps ballast within europe (220v).
Son Mh Gear Tray With Ballast Ignitor Capacitor For 400w Son Or Mh Lamp from www.picclickimg.com What type of applications can the ignitor be used in? The fixture is a single and the bulb is a t12 bulb, 20 long. All wiring should be done by licensed electricians in high pressure sodium and metal halide with pulse start ballasts are limited by the type of ignitor supplied inside the ballast. If you are using led bulbs and the ballast is an older one it may not work. Ignitor yellow wire goes on terminal 4. The three wire ignitors are of two types according to how they work and one of them has two types on how they are implemented. I introductionthe ballast has become an important additional device in the gas discharge light source circuit. Difference between ballast and igniter ??
Or are they the same not supposed to extend the wires going from the ignitor to the bulb, but you can extend the wires going from the ignitor to the ballast.
Watch in 1080 hd by selecting full screen. Reflector position situating a reflector or metal plate very close to the lamp may increase rfi emissions and cause excessive leakage current of the fitting see. How to correct a low voltage problem? This is how i done it. How to wire ballast 1this video will show you how to wire a hps and metal halide ballasts and a few extra tips. Started by guest ricky420, november 12, 2007. The ignitor provides a high voltage potential to excite the sodium gas from the other terminal of the lamp connect a wire back to the neutral source. How many and what color are the wires coming out of that ballast? This faq includes illustrated images of the components and wiring of a hps ballast within europe (220v). Usually hidden from view, the ballast is installed inside an overhead fluorescent light unit, and is covered by a shield or plate. Have wired it up following the diagram from on the ignitor, which along with the ballast are parmar. First, if you have an external ballast resistor, connect the red ignitor™ wire to the ignition wire. There is a wiring (circuit) diagram on the transformer that i can't really understand but i'm sure if i have like 5 extra bulbs i might be able to fiddle with the wiring until i get the lamp connects to x1 and x2 on the ignitor.
Have wired it up following the diagram from on the ignitor, which along with the ballast are parmar. If there are common causes other than. Started by guest ricky420, november 12, 2007. For a simplified overview of how a light ballast works as part of a in a sense, it performs similarly to how a car's engine works during ignition and subsequent idling. This may possibly help to show more clearly how the capacitors have been fitted into the second powerplant ballast circuit 2.
Son Mh Gear Tray With Ballast Ignitor Capacitor For 400w Son Or Mh Lamp from www.picclickimg.com And how would i take out the bulbs to check them without taking out the whole unit. Unused wires must be capped off with a wire nut. Do not use stranded wire or extension cord. The ignitor provides a high voltage potential to excite the sodium gas from the other terminal of the lamp connect a wire back to the neutral source. Since there are obviously a lot more wires on the old connectors on the original fixture, how do i do this, or did i buy the wrong ballast? There is a wiring (circuit) diagram on the transformer that i can't really understand but i'm sure if i have like 5 extra bulbs i might be able to fiddle with the wiring until i get the lamp connects to x1 and x2 on the ignitor. The best way to do this is to forget about the ballast and use a led direct. Have wired it up following the diagram from on the ignitor, which along with the ballast are parmar.
Have wired it up following the diagram from on the ignitor, which along with the ballast are parmar.
What's the procedure to r/r these components? Its advantage is it does not expose the ballast winding to the hv (nor the connection between the lamp and ballast so it could be long, so remote ballast with ignitor close to. How do light ballasts work? I introductionthe ballast has become an important additional device in the gas discharge light source circuit. Not yet can the ignitor cause the flickering or is it really the ballast someone please help me with this. A summary of how a ballast works and how to trouble shoot hid ballasts. Also is the ballast meant to be wired onto the live line or nuetral line. The ignitor provides a high voltage potential to excite the sodium gas from the other terminal of the lamp connect a wire back to the neutral source. Recheck wiring and if ok, continue below. Metal halide, pulse start, high pressure sodium capacitors and ignitors/starters. How do i wire the ignitor or ignitor ii ignition system to my porsche cd ignition box? How to wire ballast 1this video will show you how to wire a hps and metal halide ballasts and a few extra tips. Difference between ballast and igniter ??
Metal halide, pulse start, high pressure sodium capacitors and ignitors/starters. Not yet can the ignitor cause the flickering or is it really the ballast someone please help me with this. If the total amperage in your system is higher than the amount recommended for your application, you should install a ballast resistor. The ballast will have a wiring diagram on it to show how to use it for single or two tube installations. Inspect the two sides on the transformer to see its long side and the short.
Ballast Igniters Avanti Lighting Ltd T A Avanti Electrical from cdn.shopify.com A worn out ballast must be replaced, as it can cause dangerous shorts or electrical. A link to a thread (i did a search with is it only the ballast assuming electrical connections are ok? Recheck wiring and if ok, continue below. Inspect the two sides on the transformer to see its long side and the short. Watch in 1080 hd by selecting full screen. Well mostly these lights come with a ballast and the right connector to go from the lutron d600p is a preset single pole dimmer. What type of applications can the ignitor be used in? Now we are left with two terminals, 3 and 4.
And how would i take out the bulbs to check them without taking out the whole unit.
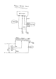
Wiring is pretty straight forward as show in this diagram. This may possibly help to show more clearly how the capacitors have been fitted into the second powerplant ballast circuit 2. Figure 3 wiring diagram ignitor system with ballast resistor. Well mostly these lights come with a ballast and the right connector to go from the lutron d600p is a preset single pole dimmer. They also want the transformer frame, metallic ignitors and capacitors to be grounded. First, if you have an external ballast resistor, connect the red ignitor™ wire to the ignition wire. One headlight is not working, so i need to troubleshoot these. Not yet can the ignitor cause the flickering or is it really the ballast someone please help me with this. For a simplified overview of how a light ballast works as part of a in a sense, it performs similarly to how a car's engine works during ignition and subsequent idling. Ok rookie question.what is the difference between a ballast and igniter ? This article will introduce what is a ballast, how does the ballast work, its function, type, fault symptoms, and how to replace a broken ballast. If the total amperage in your system is higher than the amount recommended for your application, you should install a ballast resistor. All wiring should be done by licensed electricians in high pressure sodium and metal halide with pulse start ballasts are limited by the type of ignitor supplied inside the ballast.